新闻动态

  • 压力显示故障,现场压力变送器无显示

    知识点 工艺设备已有压力但变送器没有压力信号输出, 原因有:取样阀门没有打开,导压管堵塞,排污阀门没有关闭;变送器供电或连接电缆故障,变送器的元器件损坏。

    2024-08-14 时博体育官方,时博体育登录

  • 压力表安装及更换使用说明

    安装方式: 径向指压力表的连接口径与表盘成丨型,为直接安装。 轴向指压力表的连接口径与表盘成T型。还分为中轴和偏轴(下轴)安装。

    2024-08-12 时博体育官方,时博体育登录

  • DDV阀介绍及其应用

    200MW以上机组配备的DEH产品主要以高压抗燃油全电调为主,随着电力市场的发展,电厂控制的自动化程度不断提高,小机组汽机控制系统的自动化程度在不断地提高。而小机组投资相对较少,低压纯电调改造方案既解决了投资地问题,又满足了电厂自动化控制的要求。2001年开始GE新华为了满足用户的要求,设计采用了一种以直线马达驱动的电液转换器(DDV阀)为电液接口的低压透平油纯电调系统。下面就DDV阀的结构、特点及结合顶目的应用来说明

    2024-08-05 时博体育官方,时博体育登录

  • #6低加水位波动的原因与控制

    一、运行现状 机组在不同运行工况或变工况的情况下,高低加水位均存在不同程度的波动,其正常疏水和危机疏水调节门的开度也存在较大波动。2号机组正常运行过程中,通过对各加热器运行参数的观察,发现在变工况时,#3高加、#6号低加以及#8低加水位有时出现较大幅度的波动,其中#8低加甚至出现过水位高Ⅲ值,保护动作凝结水走旁路的现象,相比而言,#1、#2高加、#5、#7号低加水位的波动相对比较小。

    2024-07-29 时博体育官方,时博体育登录

  • 锅炉主给水再循环阀门(省煤器再循环阀门)报故障

    省煤器再循环的原理 省煤器再循环是指在锅炉烟气通过省煤器冷却后,将其余热再次回收利用的过程。具体原理为:将锅炉排出的高温烟气导入省煤器进行冷却,使烟气中高温余热被吸收。然后,将冷却后的烟气再导入锅炉进行再循环利用,以达到节能减排的目的。

    2024-07-26 时博体育官方,时博体育登录

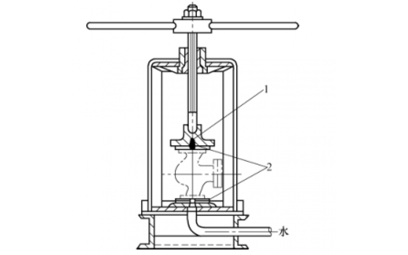
  • 阀门怎样进行强度试验和严密性试验?

    阀门的强度试验和严密性试验一般在如图1所示的阀门水压试验台上进行。

    2024-07-19 时博体育官方,时博体育登录

  • 如何理解阀门安装前的强度和严密性试验?

    阀门安装前,应作强度和严密性试验。试验应在每批(同牌号、同型号、同规格)数量中抽查10%,且不少于一个。对于安装在主干管上起切断作用的闭路阀门,应逐个作强度和严密性试验。

    2024-07-19 时博体育官方,时博体育登录

  • 双色水位计冲洗方法及注意问题

    双色水位计冲洗方法为: 1.水位计因水质各异,长期运行会造成结垢,导致红、绿色显示不清晰,可根据需要进行冲洗,冲洗方法分为:汽侧冲洗和水侧冲洗。 2.汽侧冲洗: 首先将水位计的一、二次阀完全关闭,然后微开排污阀,将汽侧一次阀开启到全开,再将汽侧二次阀缓慢开启1/5圈,利用高压蒸汽冲洗结垢的云母片,通过控制汽侧二次阀的开度来调节高压蒸汽的流量(开度不可过大,否则保险子堵死通道),冲洗时间3—5分钟,若水位计已清晰,可停止冲洗工作。冲洗完毕,关闭二次阀、排污阀、一次阀。

    2024-07-15 时博体育官方,时博体育登录

首页
产品
新闻
联系