热电偶补偿原理知识分享
2023-02-06 时博体育官方,时博体育登录
一种贵金属热电偶焊接装置
热电偶、电阻保护套泄露处理办法
2022-12-09 时博体育官方,时博体育登录
电厂循环流化床锅炉炉膛温度计的使用浅析
2022-12-06 时博体育官方,时博体育登录
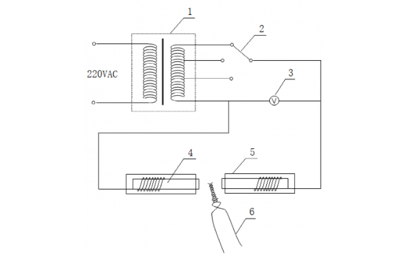
热电偶工作原理及故障处理思路
2022-11-23 时博体育官方,时博体育登录
自控仪表接地知识分享
2022-10-24 时博体育官方,时博体育登录
温度仪表的结构和原理图解分享
北京时博体育官方,时博体育登录-温控仪表故障处理分享
2022-09-03 时博体育官方,时博体育登录